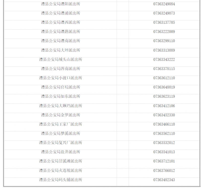
常德市澧县各基层派出所办公电话大全表:接受群众的报警、求助,为民排忧解难,解决群众的实际困难,积极为群众办好事、办实事。

免责提示:关于常德市澧县各基层派出所办公电话大全表之信息作出免责提示,本信息仅为提供便民服务目的而发布,相关信息来源于常德市政府主管机构网站主动公开之内容。本信息仅作参考,信息的准确性和完整性在此不作任何保证,也不保证所包含的信息和建议不会发生任何变更,我们仅对公开资料中的内容做原文提取或者整理转载。虽然已力求信息的客观完整,但随着时间与其它情况发生,难免信息出现差错或者变更。如果出现差错或者侵犯了您的权利,请通知本网站客服,我们将及时更正或者删除。谢谢。