1昆明市西山区、官渡区、五华区辖区派出所户政窗口业务咨询电话汇总表:
昆明市辖区派出所户政窗口业务咨询电话汇总表:

昆明市官渡区辖区派出所户政窗口业务咨询电话汇总表:

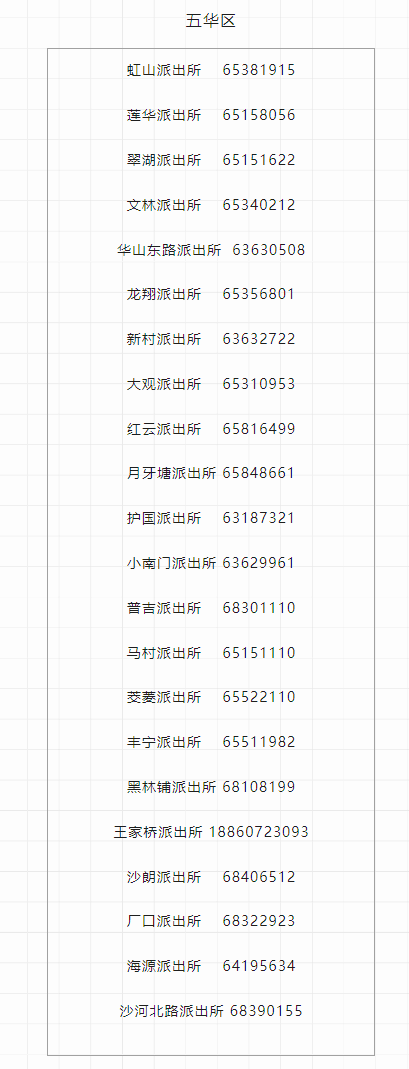
昆明市五华区辖区派出所户政窗口业务咨询电话汇总表:

声明:关于昆明市西山区、官渡区、五华区辖区派出所户政窗口业务咨询电话汇总表的信息作出免责声明,信息来源于当地主管部门公开之内容,整理转载此文是出于传递更多便民服务信息之目的。以上信息仅供参考,由于时间及其他方面的原因可能会发生变动,不准确之处请原谅!若有来源标注错误或者其它差错或侵犯了您的合法权益,请与本网站联系,我们将及时更正、删除。以上便民信息内容如有变更,以相关部门的更新内容为主。谢谢。