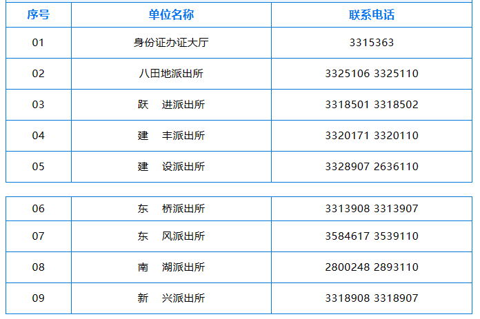
营口市站前区各派出所户政业务咨询联系电话汇总表:为推动“我为群众办实事”系列活动走深走实,营口市站前区各派出所窗口积极回应百姓需求,特此公开各个派出所户政业务咨询电话,为办证办户办事群众实行咨询、预约、办理提供方便。

说明:关于营口市站前区各派出所户政业务咨询联系电话汇总表的信息作出免责说明,本信息发布的目的仅为向公众提供更多的便民利民服务,是建立在公共服务信息基础上的公益信息传播,其信息来源于当地主管机构的公开内容。信息不排除因随着时间或者相关情况发生原因而发生变化变更,所以本信息仅作参考。
本信息旨在通过网络提供更多相关便民利民服务信息,本信息的真实性以相关部门正式披露信息为准。如有错误之处或者如有侵权,请及时联系本网站客服,定会及时修改或者删除。