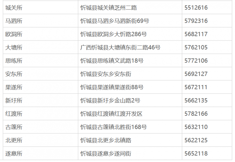
来宾市忻城县辖区派出所办公地址和值班电话汇总表:
| 城关所 | 忻城县城关镇芝州二路 | |
| 马泗所 | 忻城县马泗乡马泗新街69号 | |
| 欧洞所 | 忻城县欧洞乡大忻路286号 | |
| 大塘所 | 广西忻城县大塘镇东街二路46号 | |
| 思练所 | 忻城县思练镇文武路18号 | |
| 安东所 | 忻城县安东乡安东街 | |
| 果遂所 | 忻城县果遂镇果遂街88号 | |
| 新圩所 | 忻城县新圩乡金山路2号 | |
| 红渡所 | 忻城县红渡镇红渡开发区 | |
| 古蓬所 | 忻城县古蓬镇北胜街168号 | |
| 北更所 | 忻城县北更乡北镇路 | |
| 遂意所 | 忻城县遂意乡遂间街 |

提示:关于来宾市忻城县辖区派出所办公地址和值班电话汇总表的信息作出免责提示,本信息仅为提供便民服务目的而发布,相关信息来源于来宾市忻城县主管机构网站之公开内容。本信息仅作参考,信息的准确性和完整性在此不作任何保证,也不保证所包含的信息和建议不会发生任何变更,我们仅对公开资料中的内容做原文提取或者整理转载。虽然已力求信息的客观完整,但随着时间与其它情况发生,难免信息出现差错或者变更。如果出现差错或者侵犯了您的权利,请通知本网站客服,我们将及时更正或者删除。谢谢。