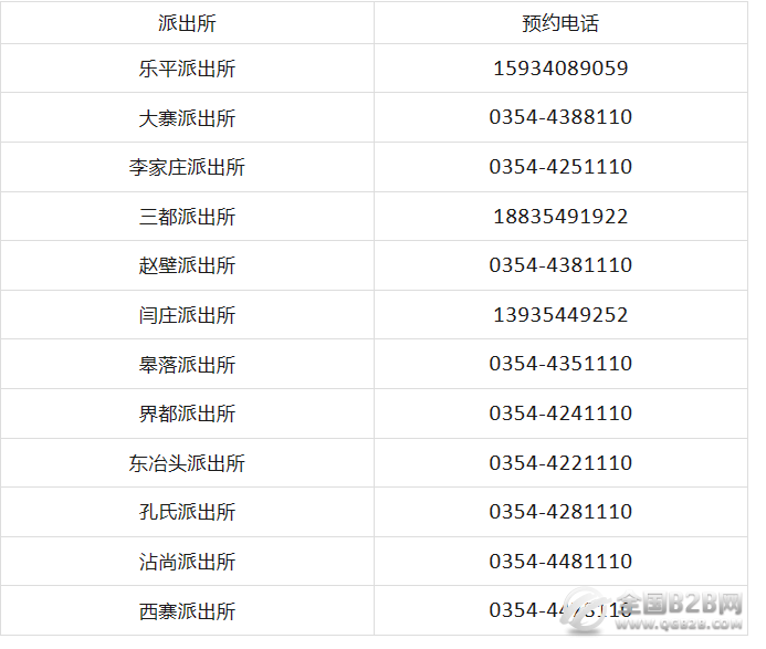
昔阳县各派出所办证办户办事服务电话号码大全:昔阳县辖区派出所:乐平派出所、大寨派出所、李家庄派出所、皋落派出所、东冶头派出所、界都派出所、沾尚派出所、赵壁派出所、孔氏派出所、三都派出所、闫庄派出所、西寨派出所。为实现全天候急事急办服务,现公布昔阳县辖区各派出所预约电话,为急需办证办户办事群众实行24小时咨询、预约、办理。

昔阳县各派出所办证办户办事服务电话号码大全:昔阳县辖区派出所:乐平派出所、大寨派出所、李家庄派出所、皋落派出所、东冶头派出所、界都派出所、沾尚派出所、赵壁派出所、孔氏派出所、三都派出所、闫庄派出所、西寨派出所。为实现全天候急事急办服务,现公布昔阳县辖区各派出所预约电话,为急需办证办户办事群众实行24小时咨询、预约、办理。
