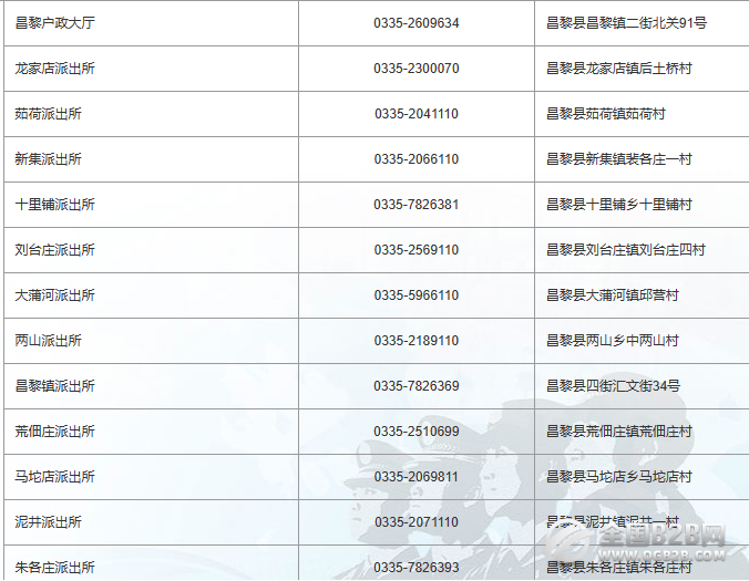
昌黎县各辖区派出所户政业务咨询电话汇总表。秦皇岛市昌黎县各派出所户政业务咨询电话名录汇总如下:


提示:关于秦皇岛市昌黎县各派出所户政业务咨询电话汇总表的信息作出免责提示,本信息发布的目的仅为向公众提供更多的便民利民服务,是建立在公共服务信息基础上的公益信息传播,其信息来源于昌黎县当地主管机构网站的公开内容。信息不排除因随着时间或者相关情况发生原因而发生变化变更,所以本信息仅作参考。
本信息旨在通过网络提供更多相关便民利民服务信息,本信息的真实性以相关部门正式披露信息为准。如有错误之处或者如有侵权,请及时联系本网站客服,定会及时修改或者删除。