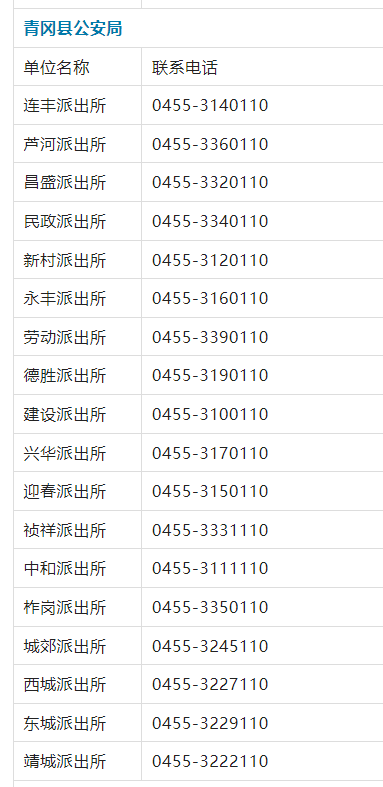
青冈县辖区各个派出所户政户籍窗口联系咨询电话大全表:

说明:关于青冈县辖区派出所户政户籍窗口联系咨询电话大全表的信息作出免责说明,本信息仅为提供便民服务目的而发布,相关信息来源于绥化市青冈县主管机构之公开内容。本信息仅作参考,信息的准确性和完整性在此不作任何保证,也不保证所包含的信息和建议不会发生任何变更,我们仅对公开资料中的内容做原文提取或者整理转载。虽然已力求信息的客观完整,但随着时间与其它情况发生,难免信息出现差错或者变更。如果出现差错或者侵犯了您的权利,请通知本网站客服,我们将及时更正或者删除。谢谢。