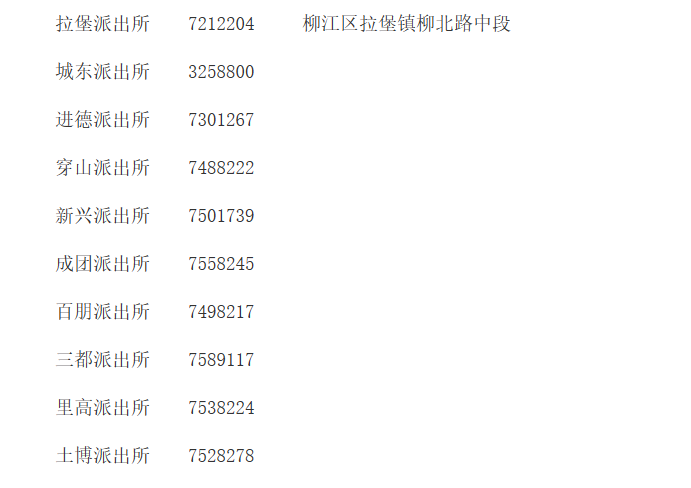
广西柳州市柳江区各派出所值班电话号码大全表:拉堡派出所、城东派出所、进德派出所、穿山派出所、新兴派出所、成团派出所、百朋派出所、三都派出所、里高派出所、土博派出所。

说明:关于广西柳州市柳江区各派出所值班电话号码大全表的信息作出免责说明:
1,信息的源处为当地政府主管部门网站公开之内容,在这里整理及转发的唯一目的是为社会提供更多的便民利民网络信息。互联网的存在,让我们多了一个方便快捷的信息渠道,也是公共服务信息发布的渠道。
2,以上信息仅供参考,由于时间及其他方面的原因可能会发生变动,不准确之处请原谅!若有来源标注错误或者其它差错或侵犯了您的合法权益,请与本网站客服联系,我们将及时更正或者删除。以上便民利民信息内容如有变更,以相关部门的更新内容为主。谢谢。